π Type Rubber Fenders
π Type Rubber Fenders
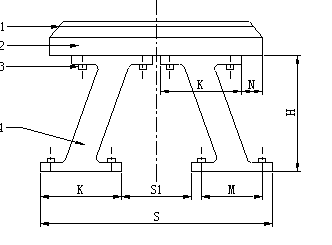
π type rubber fenders is one kind modular fender. π rubber fenders system was made of this type fender, the frontal panel and UHMW-PE pad. This type fenders have a highly efficient geometry, providing high energy absorption with a low reaction force. The can be mounded horizontally or vertically and combined with panels.
Dimensions and Performance
|
Type |
H |
N |
K |
S |
K |
M |
S1 |
|
600H |
600 |
150 |
500 |
1500 |
500 |
370 |
500 |
|
800H |
800 |
100 |
600 |
1700 |
600 |
460 |
500 |
|
1000H |
1000 |
250 |
700 |
2000 |
700 |
550 |
600 |
|
1250H |
1250 |
325 |
800 |
2450 |
800 |
650 |
850 |
|
Type |
Length |
P1 Type |
P0 Type |
P01 Type | |||
|
R |
E |
R |
E |
R |
E | ||
|
600H |
1000 |
46.2 |
10.6 |
39.6 |
9.1 |
33 |
7.6 |
|
800H |
1000 |
61.6 |
18.8 |
52.8 |
16.1 |
44 |
13.4 |
|
1000H |
1000 |
77 |
31.9 |
66 |
27.4 |
55 |
22.8 |
|
1250H |
1000 |
96.3 |
49.9 |
82.5 |
42.8 |
68.8 |
35.6 |
3. P1=High reaction force type; P0=Standard reaction force type, P01=Low reaction force type
Installation

|
Type |
Code |
① Bolt (mm) |
② Spacer (mm) |
③ ④ ⑤ Square Flange and Anchor (mm) | |||||||||||||
|
d |
A |
B |
S |
U |
T |
W |
D |
E |
F |
G |
H |
K |
L |
N |
R | ||
|
600H/800H |
G-38 |
38.1 |
100 |
80 |
75 |
100 |
6 |
41 |
48 |
120 |
9 |
100 |
6 |
140 |
290 |
50 |
80 |
|
1000H/1250H |
G-44 |
44.5 |
120 |
90 |
90 |
150 |
9 |
48 |
55 |
130 |
12 |
110 |
6 |
150 |
340 |
60 |
90 |